4 月 7 日消息,國家知識產權局信息顯示,4 月 5 日,OPPO 廣東移動通信有限公司智能指環專利獲得授權,授權(quan)公(gong)告號(hao)為 CN216210919U 和 CN216165684U。
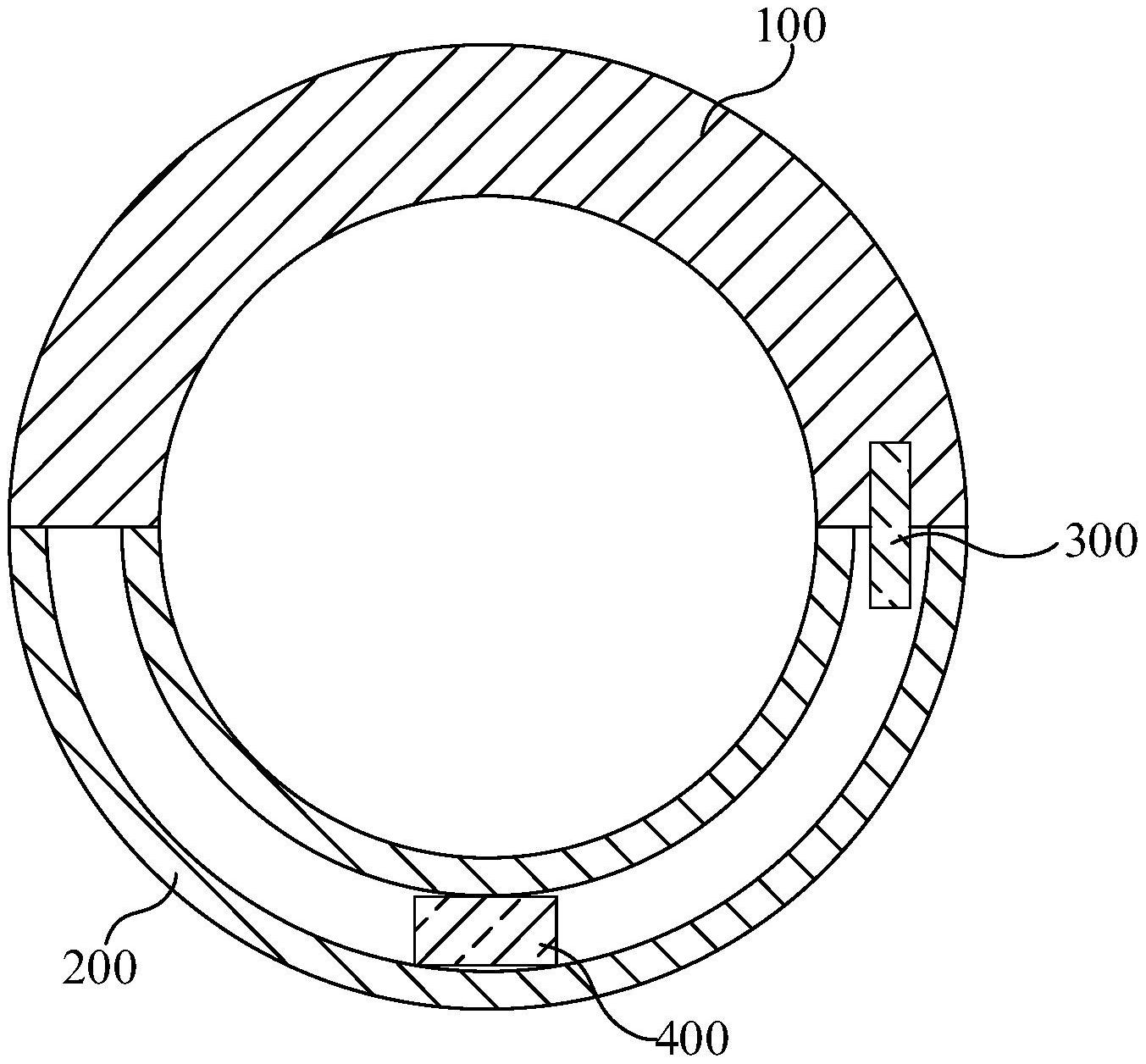
據了解,智能指環專利(CN216210919U)包括顯示屏和殼體。其中,顯示屏與殼體連接,且兩者共同圍設形成有佩戴空間;顯示屏還被配置為可發生彈性形變進行拉伸。專利摘要顯(xian)示,通過(guo)上述方式,可以提高智能指環的(de)通用性。


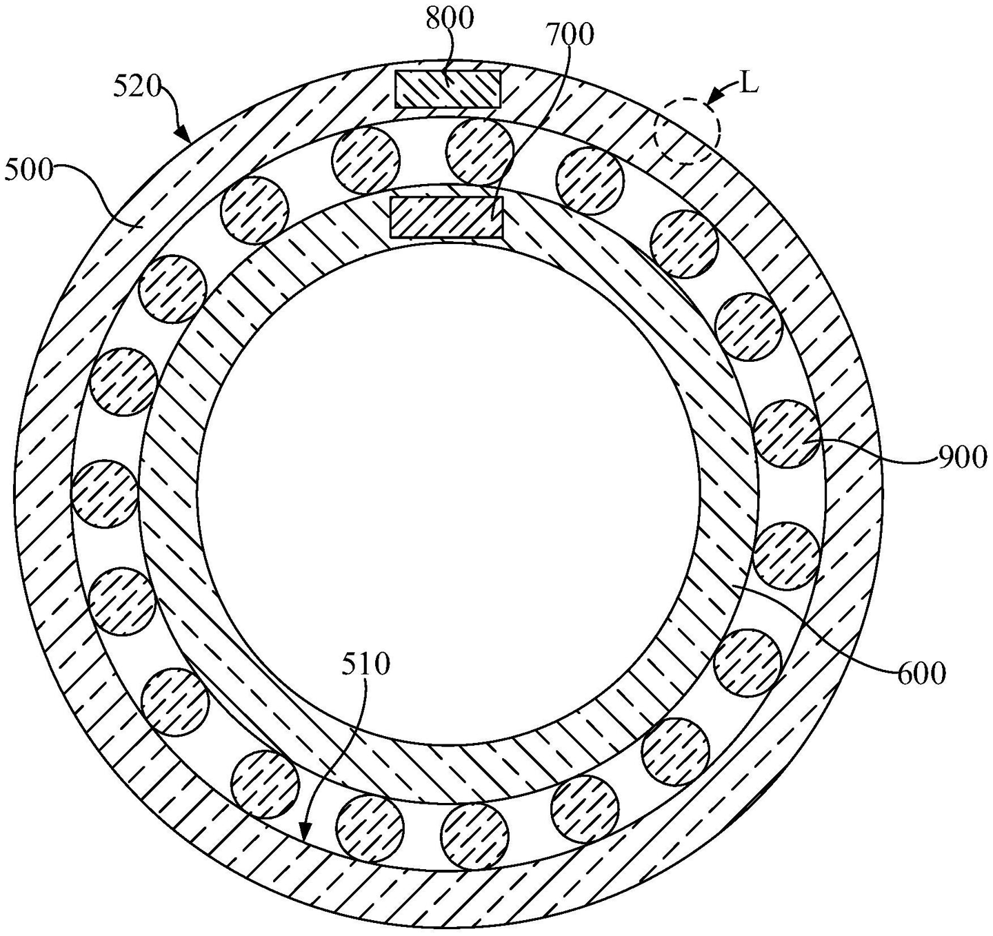
此外,智能指環(huan)專利(li)(CN216165684U)包(bao)括外環(huan)、內(nei)環(huan)、霍爾傳感器以及磁體。
其中,外環圍繞內環設置,且外環和內環被配置為可發生相對轉動;外環和內環中的一個設置有霍爾傳感器,另一個設置有磁體,以使霍爾傳感器和磁體可發生相對轉動。通過上述方式,用戶可以通過旋轉外環與智能指環進行人機交互。

