當大家(jia)在暢想和爭論下一代的智能終端到底是VR還是其他設備的時候,一個不起眼(yan)的小型硬件設備卻悄(qiao)(qiao)悄(qiao)(qiao)達(da)到了百萬銷量。

2019年時(shi)(shi),亞(ya)馬遜在秋季硬件發布會(hui)上(shang)一口氣帶(dai)來了15款新(xin)品,最讓人(ren)眼前一亮的(de)則是壓軸的(de)智能戒指(zhi)(zhi)Echo Loop。這款形(xing)似(si)扳指(zhi)(zhi)的(de)智能戒指(zhi)(zhi)在當(dang)時(shi)(shi)被戲稱為“指(zhi)(zhi)環王”,內置了觸覺引擎和(he)兩(liang)個麥(mai)克風(feng),可以通過振動來提醒(xing)新(xin)消息,佩戴者可以和(he)語音(yin)助手Alexa進行語音(yin)交互,甚(shen)至還可以通過雙擊來撥通電話。

不(bu)過這款(kuan)智能(neng)戒指在發布會上短暫亮相(xiang)之后,一直不(bu)溫(wen)不(bu)火,隨后也沒了下文。
在眾(zhong)多(duo)的可穿戴智能設備品類中,智能戒(jie)指本(ben)應算(suan)是小眾(zhong)產(chan)品,但是一(yi)家芬蘭公(gong)司Oura卻在這個(ge)領域持續(xu)受到(dao)資(zi)本(ben)的關注:
2020年3月,Oura宣布完成2800萬美元的B輪融資;2021年5月,Oura獲得1億美元的C輪融資,融資總額達到1.5億美元;今年4月,Oura再次完成了數億美元的融資,估值超過25億。
這(zhe)家成(cheng)立于(yu)2013年(nian)的(de)(de)公(gong)司,一直想要通過(guo)精密(mi)智能(neng)的(de)(de)數據監測(ce)和(he)小巧靈活(huo)的(de)(de)佩戴方(fang)式來塑(su)造更健(jian)康的(de)(de)生活(huo)方(fang)式, 其(qi)主要產(chan)品是智能(neng)戒指(zhi)和(he)對應的(de)(de)APP。最(zui)初,Oura的(de)(de)產(chan)品因為戒指(zhi)的(de)(de)獨特外形在眾多可(ke)穿戴設備中脫穎而出(chu),在 2018 年(nian)推(tui)出(chu)的(de)(de)第二代產(chan)品中,Oura Ring基于(yu)內(nei)置的(de)(de)傳(chuan)感器(qi),實現了睡(shui)眠監測(ce)功(gong)能(neng)。

Oura公司(si)的首席執行官Harpreet Singh Rai曾經公開表示:“可穿(chuan)戴設備正在(zai)從活(huo)動(dong)追蹤器(qi)過渡到能(neng)夠改善(shan)人們生(sheng)活(huo)的健康平(ping)臺,Oura首先關注(zhu)睡眠,因(yin)為睡眠是一種(zhong)日(ri)常習慣,并且(qie)與健康情況息息相關,睡眠不(bu)足可能(neng)引(yin)起(qi)糖尿病、心臟病、阿爾茨海(hai)默氏癥(zheng)、癌(ai)癥(zheng)、心理疾病。”
到去年5月(yue)時,Oura已經售出了超過50萬(wan)枚(mei)智能戒指(zhi)。
Oura Ring的(de)二代產品可以(yi)通過(guo)紅外光學脈(mo)沖測量傳(chuan)感器,測量手指掌動脈(mo)的(de)血容量脈(mo)沖;使用三維加速度(du)計和陀螺儀檢測身體運(yun)動的(de)方(fang)向和強(qiang)度(du);通過(guo)三個(ge)NTC溫(wen)度(du)傳(chuan)感器測量用戶的(de)體溫(wen)。
同時,Oura Ring 2可以與(yu)自家開發的(de)(de)(de)APP進行連接,在App內顯(xian)示具體的(de)(de)(de)睡(shui)(shui)(shui)(shui)(shui)眠(mian)(mian)數據(ju),如(ru)睡(shui)(shui)(shui)(shui)(shui)眠(mian)(mian)時長(chang)、深度睡(shui)(shui)(shui)(shui)(shui)眠(mian)(mian)、淺(qian)層(ceng)睡(shui)(shui)(shui)(shui)(shui)眠(mian)(mian)、快速眼(yan)動期等各項數據(ju),而且還能(neng)分(fen)析(xi)用戶的(de)(de)(de)睡(shui)(shui)(shui)(shui)(shui)眠(mian)(mian)習(xi)慣和模式,對(dui)睡(shui)(shui)(shui)(shui)(shui)眠(mian)(mian)質(zhi)量進行評分(fen),并提出改善(shan)意見,幫助用戶預防(fang)因為(wei)長(chang)期缺乏睡(shui)(shui)(shui)(shui)(shui)眠(mian)(mian)而導致(zhi)的(de)(de)(de)疾病等,就像一個真實的(de)(de)(de)私人睡(shui)(shui)(shui)(shui)(shui)眠(mian)(mian)教(jiao)練。
不過,以上(shang)的(de)這些功能(neng)點,很多(duo)其他類型的(de)可穿戴設(she)備也能(neng)做到,但是(shi)在收(shou)集人體的(de)生理數據時,手(shou)指(zhi)上(shang)的(de)動脈比手(shou)腕上(shang)的(de)靜(jing)脈發(fa)出的(de)信號強,因此智(zhi)能(neng)戒指(zhi)可以比智(zhi)能(neng)手(shou)表(biao)、手(shou)環等設(she)備更準(zhun)確地進行監測。
此外,由于智能(neng)戒指(zhi)既(ji)需要滿(man)足(zu)小尺(chi)寸、長續航,還要保證數據計算、安(an)全連接等(deng),因此天(tian)然(ran)需要進行(xing)低(di)(di)功耗的(de)設(she)計。Oura則使(shi)用(yong)了PSoC 6的(de)低(di)(di)功耗架構(gou),這是首個專為IoT低(di)(di)功耗產品設(she)計的(de)微控(kong)制器架構(gou),具有低(di)(di)功耗、高靈活性、高集(ji)成(cheng)度等(deng)特點(dian),無(wu)縫集(ji)成(cheng)IoT終端應用(yong)關鍵的(de)硬件安(an)全和(he)連接功能(neng)。

去年(nian)10月,Oura再次推(tui)出了(le)(le)第三(san)代智能(neng)戒指,內部集(ji)成了(le)(le)7 個傳感器,相比第二代產品,功能(neng)上也更加廣(guang)泛(fan),增加了(le)(le)計步、運(yun)動檢(jian)測、經期預測、血氧監測和(he)實時心率跟蹤等;電池續(xu)航可(ke)達(da)到(dao)1周;防水深度達(da)到(dao) 100 米;還可(ke)以(yi)與Apple Health和(he)Google Fit連接。

去年5月,Oura戒指的銷量剛剛超過50萬枚,而截止到今年3月22日,其智能戒指的銷量就已經突破100萬,第三代戒指的銷量也已經超過前兩代產品的總和,并積累了超過25億小時的睡眠記錄數據。
Oura戒(jie)指近(jin)幾年較為亮眼的銷售(shou)數據,或許與(yu)疫情分不開關系:
在(zai)疫情期間,曾(ceng)經有(you)一(yi)位來(lai)自芬蘭的(de)用戶在(zai)其社交媒(mei)體主頁上表示(shi)Oura Ring在(zai)無癥狀的(de)情況(kuang)下(xia)提醒他可(ke)能感染(ran)了新冠,而之后的(de)檢(jian)測結果證(zheng)實(shi)他確實(shi)已經被感染(ran)。
UCSF醫(yi)學中心和扎克伯格(ge)舊(jiu)金山醫(yi)院也正在(zai)和Oura合作,希望利用(yong)該戒指(zhi)來(lai)監(jian)測(ce)體(ti)溫、睡眠方式和心率活動水平。據了解,在(zai)舊(jiu)金山已經有上千名醫(yi)護人員(yuan)使(shi)用(yong)Oura Ring來(lai)追蹤他們的(de)體(ti)溫,以便能盡早地(di)注意到新冠肺炎(yan)的(de)癥(zheng)狀。
2020年底(di),《Nature》發表了(le)一(yi)篇題為《利用可穿(chuan)戴設備(bei)進(jin)行持(chi)續(xu)發燒監測的(de)(de)可行性(xing)》的(de)(de)研究,也強(qiang)調(diao)了(le)Oura的(de)(de)設備(bei)如(ru)何用于檢測體溫變(bian)化以及如(ru)何在早期發現可能(neng)的(de)(de)新冠感染。
在這種情況(kuang)下(xia),為了(le)獲取(qu)更多的(de)曝光(guang)量,第三代(dai)Oura Ring還與NBA合作,將其(qi)應用到對NBA球(qiu)(qiu)員體溫、心率監測等場景中,可以(yi)通過(guo)追蹤球(qiu)(qiu)員的(de)睡眠模式,使其(qi)調(diao)整(zheng)到最佳的(de)比賽水準。
除了(le)增加其對于(yu)(yu)新(xin)(xin)冠(guan)監測的(de)(de)(de)宣(xuan)傳之(zhi)外,在(zai)去(qu)年10月(yue),Oura還(huan)開啟了(le)5.99美(mei)元每月(yue)的(de)(de)(de)訂閱收費模式,可以提(ti)供每日健(jian)康報(bao)表,個性化建議以及一些教育視頻和音頻,使(shi)得(de)Oura在(zai)硬件(jian)收入之(zhi)外,在(zai)軟件(jian)服務方面也(ye)實現營收新(xin)(xin)突破。根(gen)據Oura公司的(de)(de)(de)公告,在(zai)完成最新(xin)(xin)一輪(lun)的(de)(de)(de)融(rong)資之(zhi)后,其獲(huo)得(de)的(de)(de)(de)資金也(ye)將(jiang)在(zai)硬件(jian)產(chan)品研(yan)發之(zhi)外,用于(yu)(yu)個性化和指導性的(de)(de)(de)內容。

雖然從銷量上來看(kan),目前Oura是(shi)唯(wei)一的真(zhen)正(zheng)在智(zhi)能戒指(zhi)市場(chang)上站穩腳跟的公司,但比智(zhi)能手機等領域的發展路徑,最終的贏家現在還尚無定論。
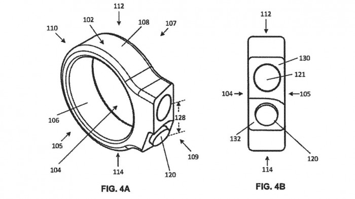
近日,OPPO曝光(guang)了一項名為「智(zhi)能指(zhi)環(huan)」的專利,從曝光(guang)信(xin)息來(lai)看,這個設備的設計與 Oura 的智(zhi)能戒指(zhi)非常相似。

不過,與Oura Ring不同(tong)的(de)是,OPPO的(de)「智能(neng)指(zhi)環」設(she)計或許會(hui)帶(dai)有顯示(shi)屏,能(neng)夠(gou)像智能(neng)手表一樣進行(xing)交互,而(er)且屏幕可以進行(xing)拉伸,類似在手機(ji)中推出的(de)“卷(juan)軸屏”概念。
無獨有(you)偶,蘋果和谷歌也(ye)曾在2020年曝光過智能戒(jie)指的相關專(zhuan)利。
當(dang)時蘋果(guo)的專利顯(xian)示,這款戒(jie)(jie)指(zhi)的外部集成了(le)力(li)傳(chuan)感(gan)器(qi)(qi)、超聲波傳(chuan)感(gan)器(qi)(qi)、慣性(xing)測量單(dan)元等各種(zhong)傳(chuan)感(gan)器(qi)(qi),用(yong)來(lai)收集用(yong)戶(hu)的輸入信息。同時,這款智能戒(jie)(jie)指(zhi)還(huan)可以用(yong)于改變音量,甚至解鎖Mac電(dian)腦等設備。
谷歌專利的(de)不同之處(chu)則在于,在智能戒指上(shang)還(huan)增加了微型(xing)相機(ji),可以進(jin)行調節光圈和拍(pai)照等操(cao)作。

除了OPPO、谷歌、蘋果(guo)之外,在今年的(de)CES上(shang),健(jian)康科(ke)技公司(si)Movano宣(xuan)布(bu)推出Movano Ring ,可以提供幾乎(hu)與Oura Ring完全相同的(de)功能,還希望(wang)將(jiang)來能夠幫助(zhu)用(yong)戶檢測慢性(xing)疾病(bing),但售價(jia)卻更加便宜,等待FDA最終批準(zhun)后即可上(shang)市。

寫在最后
在VR領域(yu),已經(jing)形成(cheng)的(de)普遍(bian)共識是出貨量(liang)達到1000萬(wan)會(hui)成(cheng)為一個拐點。由于智能戒指的(de)整體市場體量(liang)不大,目(mu)前參(can)與(yu)進來的(de)玩家也不多(duo),Oura單一產品(pin)的(de)銷量(liang)突破(po)100萬(wan)已經(jing)是非(fei)常不錯的(de)成(cheng)績。
傳統(tong)的(de)戒(jie)指通(tong)常(chang)代表著情感(gan)的(de)傳遞(di),而現在的(de)智(zhi)能(neng)戒(jie)指則被賦予了(le)更多的(de)功(gong)能(neng)性,既可(ke)以是(shi)裝飾,也(ye)可(ke)以是(shi)健(jian)康檢測器,或者設(she)備控制器等。雖(sui)然(ran)受到了(le)大(da)小的(de)限制,與智(zhi)能(neng)手(shou)表相比,在可(ke)實(shi)現的(de)功(gong)能(neng)數量上必然(ran)會減少一(yi)些,但(dan)這(zhe)種徹底無感(gan)的(de)佩戴,以及手(shou)勢操作的(de)識別,或許在未來可(ke)以帶來更多不一(yi)樣(yang)的(de)玩法,和智(zhi)能(neng)手(shou)表等其他(ta)可(ke)穿(chuan)戴設(she)備形成補充。
參考資料:
1.《OPPO智能環專利授權,顯示屏可拉伸》,創科數字
2.《疫情(qing)催(cui)生出的智能戒(jie)指Oura只(zhi)售300美元,如何預防疾(ji)病(bing)?》,大愚百科全書(shu)
3.《智能戒指Oura完成1億美元C輪融(rong)資》,投資界
4.《研發睡(shui)眠監測智能(neng)戒(jie)指,芬蘭「Oura」獲2800萬美(mei)元B輪(lun)融(rong)資》,36氪
5.《谷歌計劃(hua)研發可穿戴自拍戒指,內置攝像頭》,cnBeta
6.《又一枚智能戒指來了,Movano Ring 的想法很(hen)獨特》,深圳灣(wan)