今日物語
雨不打花(hua)花(hua)不紅。我們不能只有(you)天上有(you)云,但不下雨,或者下雨,不落在(zai)花(hua)上,客(ke)戶感知不到。
——任正非
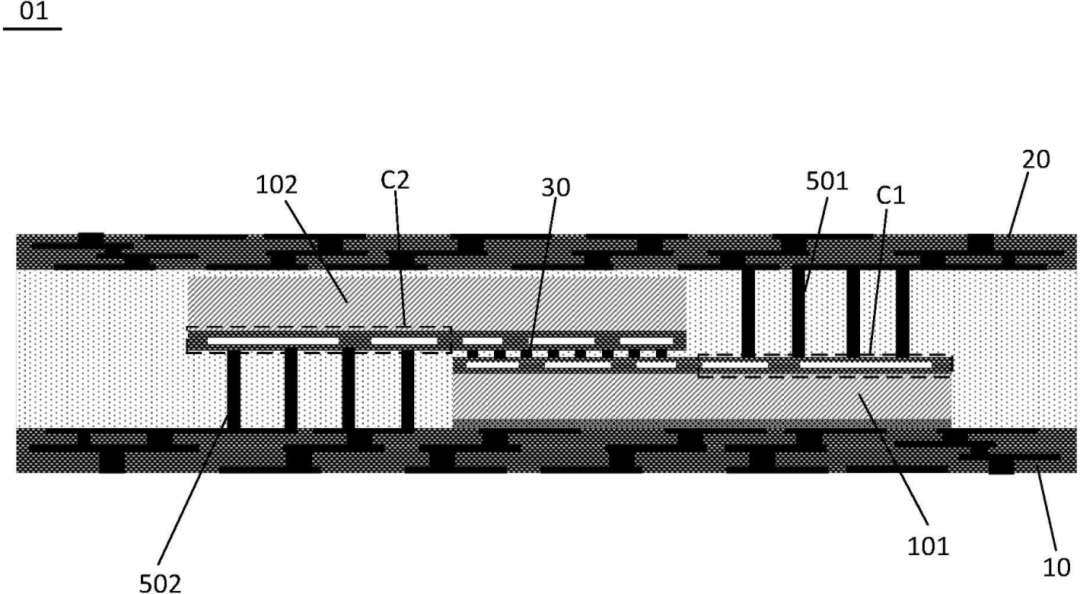
華為芯片堆疊封裝專利公開:降低硅通孔技術成本 用堆疊換性能

據悉,華為近日公開了一種芯片堆疊封裝及終端設備專利,專利摘要顯示,該專利涉及半導體技術領域,其能夠在保證供電需求的同時,解決因采用硅通孔技術而導致的成本高的問題。此前,華為輪值董事長郭平曾表示,未來華為可能會采用多核結構的芯片設計方案,采用面積換性能,用堆疊換性能,使得不那么先進的工藝也能持續讓華為在未來的產品里面,能夠具有競爭力。
臺積電將成為2022年英偉達GPU的獨家合同供應商
據(ju)報道,英偉(wei)達(da)數據(ju)中心GPU將基于臺積(ji)電的4納米(mi)工藝制造(zao),業(ye)內人士預(yu)計臺積(ji)電將壟斷英偉(wei)達(da)在2022年發布(bu)的所有GPU的訂單。據(ju)傳,英偉(wei)達(da)公司已(yi)同意向臺積(ji)電支(zhi)付高達(da)100億美元的費用。
AMD宣布作價121億元收購DPU芯片廠商Pensando
據悉,AMD繼(ji)3000多億(yi)成功拿下FPGA芯片廠(chang)(chang)商(shang)賽(sai)靈思(si)之后,近日又收(shou)(shou)購了一家DPU芯片廠(chang)(chang)商(shang)Pensando,花費19億(yi)美(mei)元(yuan)(約(yue)合121億(yi)人民(min)幣(bi))。收(shou)(shou)購后Pensando團隊高管將加入AMD領(ling)導的(de)數據中心(xin)解決方案部門,繼(ji)續專注于執行其產(chan)品和技術路線(xian)圖。
美國運營商T-Mobile已開始關閉3G CDMA網絡
據報道,T-Mobile將在(zai)60 天(tian)內遷移一些地區的客戶,以確保(bao)其得到支持,3G CDMA網(wang)絡將在(zai)不晚于5月31日(ri)完(wan)全關(guan)閉。此外,T-Mobile還計劃在(zai)今年(nian)7月1日(ri)前結束自己的3G UMTS網(wang)絡。
英特爾與洛克希德·馬丁公司聯手推進基于5G的軍用通信系統
據悉,英特爾(er)的(de)(de)5G解(jie)決方案將被(bei)整合到(dao)洛克希(xi)德·馬丁公司的(de)(de)5G.MIL混(hun)合基站(zhan)(zhan)中,該基站(zhan)(zhan)作為(wei)一個多網(wang)絡網(wang)關,用于軍事人員(yuan)與(yu)當前和新興平臺(包(bao)括衛(wei)星(xing)、飛(fei)機、船舶和地(di)面車(che)輛)之(zhi)間的(de)(de)持續的(de)(de)通信。
臺積電5nm產能擴增25%
產業鏈消息稱臺積電的5nm產能將從(cong)之前的每月12萬片(pian)晶(jing)圓(yuan)提升(sheng)到(dao)每月15萬片(pian),增(zeng)加了25%左右。增(zeng)加的3萬片(pian)產能主(zhu)要是給PC端客戶使用(yong)的,具體有(you)哪些客戶是不(bu)會公布(bu)的,不(bu)過AMD據悉(xi)是受益者(zhe)之一。
山西移動、華陽集團、華為合作賦能山西智慧煤礦建設
近日,三家公司共同簽署《煤礦5G創新合作協議》。新場景方面,將探索煤礦5G專網從單一礦井建設向多礦井聯合部署的新模式,聚焦5G礦山工業互聯網平臺,探(tan)索(suo)(suo)煤礦各類物聯網(wang)技(ji)術的智能(neng)(neng)融(rong)合管控新(xin)場(chang)景;新(xin)技(ji)術方面,推進(jin)邊緣計(ji)算(suan)能(neng)(neng)力(li)建設,合理部署、下(xia)沉計(ji)算(suan)能(neng)(neng)力(li),探(tan)索(suo)(suo)井下(xia)綜采、掘(jue)進(jin)面的控制(zhi)中心(xin)就地實(shi)現業(ye)務(wu)數(shu)據分流;新(xin)設備方面,研究(jiu)布(bu)設5G傳(chuan)輸控制(zhi)鏈路,實(shi)現對(dui)掘(jue)進(jin)機的遠(yuan)程控制(zhi)。
iPhone 14 Pro Max外形曝光 感嘆號取代劉海 邊框窄了20%
日前,網絡(luo)上(shang)曝光了(le)(le)一(yi)組iPhone 14 Pro Max的CAD圖(tu)片(pian)。圖(tu)片(pian)顯示(shi),蘋果將(jiang)為iPhone 14系列帶來全新的ID設計,拋(pao)棄多年劉海屏,改用感嘆號挖孔屏,進一(yi)步提(ti)升屏占比(bi)。此(ci)外,iPhone 14 Pro Max的另外一(yi)大(da)變化(hua)就是(shi)邊框(kuang)更窄,其寬度為1.95mm,相比(bi)iPhone 13 Pro Max為的2.42mm,窄了(le)(le)近20%。
小米對講機3發布:399元 支持5000公里對講
昨日,小米推出(chu)了第三代對講(jiang)機(ji),到手價399元(yuan),支持4G全(quan)網(wang)通,可實現全(quan)國5000公里的(de)對講(jiang)距離(li),突破傳統對講(jiang)機(ji)通話距離(li)限制,而且贈送(song)2年免費流量卡。同時,還可以實現獨立(li)建群、快捷組隊、私密對講(jiang)等功能,支持OTA空(kong)中升(sheng)級,未來解鎖更多功能。
寶馬7系將迎來增強版停車輔助技術

據報(bao)道,寶馬(ma)停(ting)車(che)輔助(zhu)功能(neng)可以記住820英尺的(de)行駛(shi)(shi)距離并沿著相(xiang)同的(de)路徑自動倒(dao)車(che),駕駛(shi)(shi)者只需控(kong)(kong)制油門和(he)剎車(che)。更新(xin)后的(de)系(xi)統在這一技術的(de)基礎上得到了改(gai)進,其允許司機在車(che)內或車(che)外控(kong)(kong)制車(che)輛(liang)的(de)運(yun)行。倒(dao)車(che)助(zhu)手專業版、停(ting)車(che)助(zhu)手專業版和(he)遠程操控(kong)(kong)助(zhu)手功能(neng)都將在4月(yue)20日亮相(xiang)的(de)新(xin)7系(xi)上提供(gong)。
四維圖新與霍尼韋爾在汽車電子芯片等領域達成合作
四維(wei)圖新發布公告稱,與霍(huo)尼(ni)韋爾(er)傳感控制(中國(guo))有限(xian)公司簽署《戰略(lve)合作框(kuang)架協議》,雙(shuang)方(fang)將在汽車電(dian)子芯片、自動(dong)駕駛、智能網聯方(fang)向(xiang)深化業務合作,構(gou)建戰略(lve)合作伙伴(ban)關系。
全國首例自動駕駛重卡獲得公開道路測試牌照
近日,全國第(di)一張針對公開(kai)道路(lu)入廠(chang)物流(liu)場(chang)景的(de)(de)自動駕(jia)駛(shi)重卡(ka)(ka)測試牌照在柳(liu)(liu)州發出,獲得自動駕(jia)駛(shi)公開(kai)道路(lu)測試牌照的(de)(de)東(dong)風柳(liu)(liu)汽乘龍H5智(zhi)(zhi)能(neng)(neng)網聯電動物流(liu)車,是專門(men)針對入廠(chang)物流(liu)、園區轉運等(deng)場(chang)景開(kai)發的(de)(de)智(zhi)(zhi)能(neng)(neng)電動卡(ka)(ka)車。車上配備攝像頭、雷達、5G-OBU等(deng)設備,在單(dan)車智(zhi)(zhi)能(neng)(neng)基礎上,還具(ju)備V2X車路(lu)協同(tong)、5G遠程(cheng)平行(xing)駕(jia)駛(shi)、云端智(zhi)(zhi)能(neng)(neng)調(diao)度(du)等(deng)功能(neng)(neng)。
阿聯酋電信宣布與Meta合作
據報道(dao),阿聯酋電(dian)信已與 Meta 簽(qian)署制定了“戰略合作伙伴關系路線圖”,將在(zai)其數字通信計劃(hua)中,整(zheng)合Meta最新的產品和解決方(fang)(fang)案(an),在(zai)消費者渠道(dao)數字化、AR、VR以(yi)及對話式商務應用等方(fang)(fang)面(mian)進行合作。
M1 Mac可以順利運行原生Linux
據悉,專為蘋(pin)果自研芯片打造的Asahi Linux項目的Alpha版本已經釋(shi)出(chu)。經網(wang)友測試(shi),在完全(quan)相(xiang)同(tong)的硬件上運行某些(xie)程序,Linux竟然比macOS還快。
英特爾第一款“礦卡”細節官宣
根據官方介紹,Intel Blockscale ASIC采用(yong)了Flip-chip LGA 132-ball封裝樣式,尺寸為7.5×7毫米,集(ji)成溫度(du)、電壓(ya)傳感器(qi),內置了SHA-256硬(ying)件加速(su)單元,比特幣挖(wa)礦算力最(zui)(zui)高580GH/s,功耗4.8-22.7W,換算下來能效最(zui)(zui)高26J/TH,支持最(zui)(zui)多256顆組成一套(tao)系統,將于第三季度(du)起(qi)出貨。
上海全面推行“場所碼”
據報道,自4月(yue)5日起,上海開(kai)始全面推行(xing)(xing)“場所碼(ma)(ma)”、“數(shu)(shu)(shu)字哨兵(bing)”掃碼(ma)(ma)通行(xing)(xing)措施。場所碼(ma)(ma),是指市(shi)民進(jin)入(ru)各重點場所使用的專有(you)二(er)維碼(ma)(ma),由隨申辦為該場所定制(zhi)生成;“數(shu)(shu)(shu)字哨兵(bing)”是具備(bei)健(jian)康核(he)驗(yan)功能的一體機設(she)備(bei),通過閘機、門禁、固(gu)定核(he)驗(yan)機具、手持(chi)終端(duan)等多種(zhong)設(she)備(bei),掃描健(jian)康碼(ma)(ma)、核(he)驗(yan)人(ren)(ren)臉或讀(du)取身份證,基于上海市(shi)大數(shu)(shu)(shu)據中心(xin)提(ti)供的數(shu)(shu)(shu)據服(fu)務,能夠快速核(he)驗(yan)通行(xing)(xing)人(ren)(ren)員的實(shi)時體溫、健(jian)康碼(ma)(ma)狀態、核(he)酸檢(jian)測結果(guo)和疫苗接種(zhong)情(qing)況等信息,自動完成相(xiang)關健(jian)康核(he)驗(yan)和場所準(zhun)入(ru)。
特斯拉女車主揭侵犯名譽權真相
昨(zuo)日,特斯拉車頂維(wei)權(quan)女(nv)車主張女(nv)士在(zai)其(qi)個人微博發(fa)布視頻,揭(jie)露(lu)特斯拉及(ji)陶琳(lin)侵犯名譽(yu)權(quan)真相。她表(biao)示,去(qu)年3月份,特斯拉就指(zhi)定(ding)(ding)了一家(jia)鑒(jian)定(ding)(ding)機(ji)構(gou)“中(zhong)國(guo)質量(liang)認證中(zhong)心(xin)”,當時(shi)被(bei)告知,國(guo)內只有(you)這一家(jia)機(ji)構(gou)可(ke)以鑒(jian)定(ding)(ding),后來通(tong)過了解知道,這家(jia)鑒(jian)定(ding)(ding)機(ji)構(gou)和特斯拉有(you)業務往來。此外,針(zhen)對陶琳(lin)曾提出的“只接受高額賠償”、“特斯拉所(suo)有(you)負面都是張女(nv)士貢獻的”等言論,張女(nv)士稱(cheng)嚴重侵害了其(qi)個人名譽(yu)。
馬斯克推特發惡搞“民調”:需要編輯按鈕嗎?
特(te)斯(si)拉CEO埃隆-馬(ma)斯(si)克(ke)在收購推特(te)9.2%的(de)股份(fen),成(cheng)為(wei)該(gai)平臺的(de)最(zui)大股東(dong)后,又向其(qi)8000多萬粉絲發起(qi)了一次民調:“我們(men)需要(yao)一個編輯(ji)按鈕(niu)嗎?”值得注(zhu)意的(de)是,馬(ma)斯(si)克(ke)將“yes”和“no”故意拼成(cheng)了“yse”和“on”,似乎是在暗(an)示人們(men)推特(te)確實需要(yao)編輯(ji)的(de)功(gong)能。
雷軍票選米粉最喜歡的小米手機,第一名竟然是它!
小(xiao)(xiao)(xiao)米(mi)(mi)即將迎來 12 周歲(sui)生日,小(xiao)(xiao)(xiao)米(mi)(mi)創始(shi)人雷軍4月(yue)4日在微博發起投票(piao)(piao),向米(mi)(mi)粉調查最喜歡的(de)(de)一(yi)(yi)部(bu)小(xiao)(xiao)(xiao)米(mi)(mi)手(shou)機。最終小(xiao)(xiao)(xiao)米(mi)(mi) 6 以 2.1 萬人的(de)(de)投票(piao)(piao)數位列第一(yi)(yi),且遙(yao)遙(yao)領先,看來米(mi)(mi)粉對于“小(xiao)(xiao)(xiao)米(mi)(mi)釘子戶(hu)”專(zhuan)屬機型還是情有獨(du)鐘。此外(wai),小(xiao)(xiao)(xiao)米(mi)(mi) 11ultra、小(xiao)(xiao)(xiao)米(mi)(mi) 10 至尊(zun)版的(de)(de)的(de)(de)票(piao)(piao)數也較高(gao),分別為(wei) 8190 票(piao)(piao)、6147 票(piao)(piao),但都與小(xiao)(xiao)(xiao)米(mi)(mi) 6 不在一(yi)(yi)個(ge)量級。
世界衛生組織稱中醫藥有效
據報(bao)道,“世(shi)界衛生組(zu)織(zhi)關于中醫藥(yao)(yao)治療(liao)新(xin)冠肺炎專家(jia)評(ping)估會”的報(bao)告于3月31日在世(shi)衛組(zu)織(zhi)官網發(fa)布(bu)(bu),會議報(bao)告指(zhi)出:中藥(yao)(yao)能有效治療(liao)新(xin)冠肺炎,降低輕(qing)型、普通(tong)型病例轉(zhuan)為重癥,縮短病毒清除時間,改善(shan)輕(qing)型和普通(tong)型患(huan)者的臨床預后(hou)。在昨(zuo)日舉行的上海市疫情防控工作新(xin)聞發(fa)布(bu)(bu)會上,上海中醫藥(yao)(yao)大學(xue)附屬曙光醫院院長房敏介(jie)紹稱(cheng),上海針對陽(yang)性感染者,中藥(yao)(yao)使(shi)用率穩定(ding)保持在98%以上。